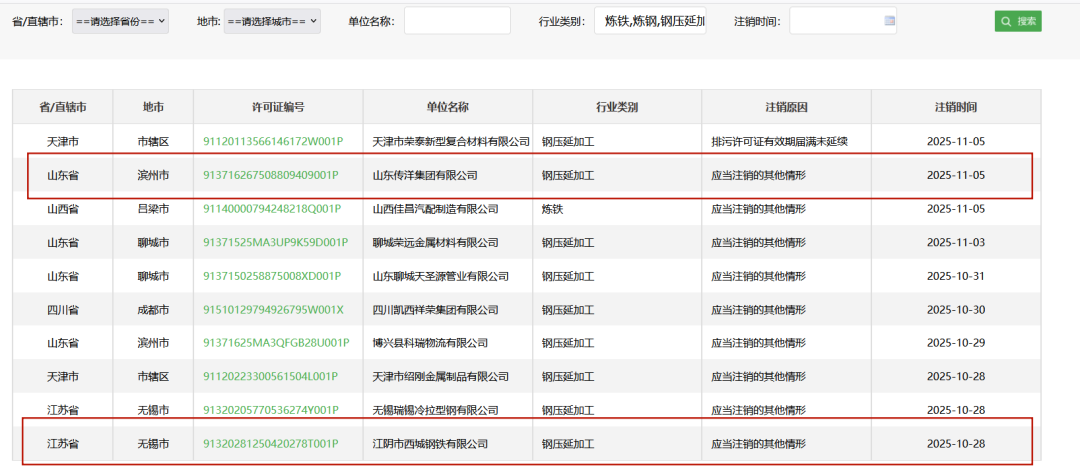
全国排污许可证管理信息平台显示,山东传洋集团有限公司和江阴市西城钢铁有限公司注销排污许可证,注销原因为应当注销的其他情形。
排污许可的注销,背后也关联着两家钢企截然不同的发展命运,也折射出钢铁行业转型期的深层趋势。
山东传洋集团有限公司 山东传洋集团的退出,是政策引导下产能优化整合的典型案例。早在2019年,山东工信厅发布《日照钢铁控股集团有限公司产能置换方案公示》,《公示》称,山东广富集团有限公司退出450m³高炉2座、750m³高炉3座、60t转炉1座、80t转炉2座、50t电炉1座、100t电炉1座,合计炼铁产能350万吨、炼钢产能396万吨;以及山东传洋集团有限公司退出630m³高炉3座、120t转炉2座,合计炼铁产能219万吨、炼钢产能270万吨;两家钢企合计炼铁产能569万吨、炼钢产能666万吨,将用于日照钢铁控股集团在日照岚山区新建3000m³高炉2座、300吨转炉2座。 山东传洋集团曾在“2014中国民营企业500强”榜单中位列478位。 江阴市西城钢铁有限公司 江阴市西城钢铁有限公司成立于1997年,系无锡西城特种薄板有限公司成员,位于江苏省无锡市,是一家以从事黑色金属冶炼和压延加工业为主的企业。公司由江苏西城三联控股集团有限公司全资控股,该集团目前具备金属压延产能合计约1000万吨的年生产能力,多年入选中国民营企业500强和中国民营企业制造业500强,2021中国民营企业500强排名465位;2022中国民营企业500强第212位。 2024年8月15日,江阴法院作出(2023)苏0281破99号之一民事裁定书,裁定终止西城钢铁重整程序,并宣告西城钢铁破产。2025年6月27日,江苏省江阴市人民法院作出(2025)苏0281破22号民事裁定书,正式裁定宣告江苏西城三联控股集团有限公司破产。 排污许可证的注销,既是两家钢企发展阶段的终点,更是行业转型的新起点。随着行业整合的持续深入,钢铁产业将更加集中、高效、绿色,为实体经济发展提供更坚实的支撑。

